Product Item: Mtd riding 2025 mower steering parts
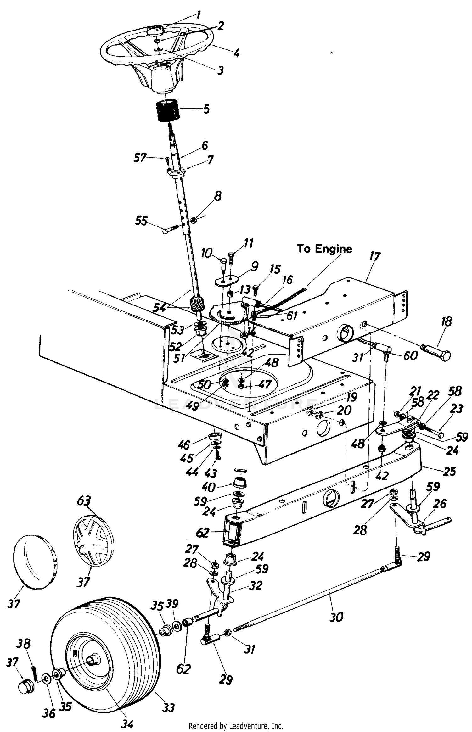
MTD 13AN601H729 2006 Parts Diagram for Steering 2025, MTD 13W2775S031 LT4200 2012 Parts Diagram for Front End Steering 2025, How to replace a steering shaft on an MTD mower Quora 2025, MTD 13BX605G755 2007 Parts Diagram for Steering Assembly 2025, MTD 13AM762F052 2008 Parts Diagram for Steering 2025, Yard Machines 13A3762F700 Yard Machines Lawn Tractor 2006 2025, MTD MTD Mdl 139 652 169 64788 Parts 2025, MTD 13AM762F765 2007 Parts Diagram for Steering 2025, MTD 13AM675G062 1998 Wheels Front Axle Front Steering Assembly 2025, MTD 13AJ795G004 MTD Gold Lawn Tractor 2009 Steering Parts 2025, MTD 13AL771H004 MTD Gold Lawn Tractor 2009 Front End Steering 2025, MTD yard machines steering shaft loosening My Tractor Forum 2025, MTD MTD Lawnflite 146 834 192 Parts Diagram for Steering 2025, Amazon 738 0919B Steering Shaft and 617 04094 Sector Gear Kit 2025, Steering repair on White Outdoor Lawn Mower by MTD 2025, Steering Shaft 738 0919B MTD Parts 2025, MTD 133L660G000 MTD Lawn Tractor 1993 Steering Assembly Wheels 2025, My MTD Riding Mower Steering Problems Steering Shaft Replacement 2025, GardenPal 617 04094 Steering Gear for MTD T1000 T1200 T1400 T1500 T1600 T1800 T1900 LT2500 Bolens Yard Machines Yard Man Troy Bilt Mower 2025, MTD 13AN601H729 2006 Parts Diagram for Steering 2025, Steering Shaft Steering Gear fits MTD 753 04517 738 0919 617 2025, How to replace a steering shaft on an MTD mower Quora 2025, Steering Gear For Mtd Lawn Mower Parts MFG Supply 2025, Amazon Mr Mower Parts Steering Shaft Pinion Gear Replaces 2025, White MTD Lawn Mower Steering Sector Gear 717 1550E eBay 2025, MTD 14AI808H718 46 2025, MTD 131 659 000 MTD Lawn Tractor 1991 Parts04 Parts Lookup 2025, MTD 134R616G190 42 2025, MTD Steering Gear Quadrant 717 1550 GHS 2025, MTD 138 666 190 LT 120 1988 Steering Assembly 2025, Steering Segment Kit For MTD Cub Cadet 717 1550F 7171550 7171554 2025, Yard Machines 13AH660F088 2001 Lawn Tractor Parts and 2025, Steering Shaft fits Troy Bilt Cub Cadet MTD 753 04517 738 0919 2025, Steering assembly Stiga Estate 3084 H 2T2110281 14 2018 model 2025, MTD Yard Machines 38 13A2762F329 2016 Drag link Steering gear 2025, Craftsman Riding Lawn Mower Replace Steering Shaft 583573701 2025, MTD 130 736G190 LT 145 1990 Parts Diagram for Steering Assembly 2025, MTD Montgomery Ward Mdl TMO 33944A 130A670G088 Parts 2025, MTD 13A1762F065 MTD Gold Lawn Tractor 2013 Front End Steering 2025, MTD 738 0919B Lawn Tractor Steering Shaft and 617 04094 Lawn Tractor Steering Sector Gear Bundle 2025, SOLVED Mtd riding mower steering shaft is stripped out Mtd Fixya 2025, Lawn Mower Parts Steering Gear Fit 1 Pcs For Columbia For Huskee 2025, MTD LF 125 13AH773F600 2009 Steering gear segment Spareparts 783 2025, dlx power steering Talking Tractors Simple trACtors 2025, Yard Man 13A2785S001 Yard Man Lawn Tractor 2013 Front End 2025, MTD Gold Riding Lawn Mower 13AX795S004 MTD Parts 2025, Replacement Parts Service 2025, MTD Replacement Part Steering Gear Assembly Amazon Patio 2025, Steering Shaft Gear Drag Ball Joint fits MTD OEM 617 04094 2025, MTD 130 650F000 1990 Steering 2025.
Mtd riding 2025 mower steering parts