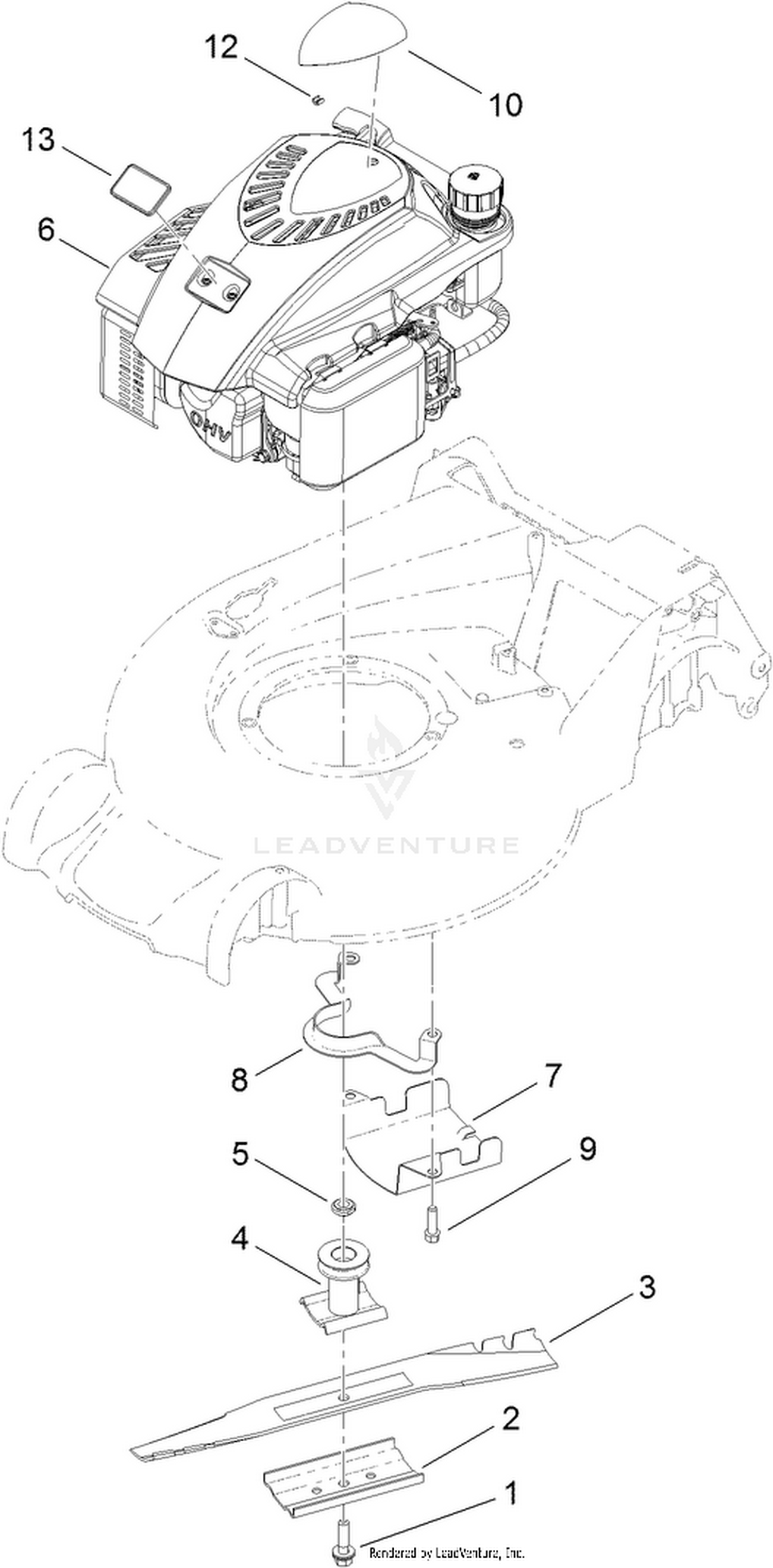
Product Item: Toro super 2025 recycler 20836
Toro Super Recycler 20836 Review Petrol lawnmower CHOICE 2025, Toro Lawn Mower SuperRecycler 20836 Prochaska Die 2025, Toro Super Recycler 19 Inch 48 cm Personal Pace 21681 2025, Toro 20836 Super Recycler 2025, TORO Super Recycler 19 2025, Toro Lawn Mower SuperRecycler 20836 Prochaska Die 2025, 21 in. Super Recycler Personal Pace SmartStow 163 cc Briggs and Stratton Gas Walk Behind Lawn Mower 2025, Toro Super Recycler 21 2025, Toro 21 2025, Toro Super Recycler 21 2025, Traction Control Cable for Toro 20837 20835 20836 20838 21680 2025, Toro 21 2025, Toro Walk Power Mowers Brochure last updated 15 01 2018 by 2025, How To Rebuild Restore A Toro Super Recycler NIBI 2025, Amazon WILDFLOWER Tools 117 9389 Traction Cable for Toro 2025, Toro Lawn Striping Sytem 20601 Recycler Super Recycler Mower Shop Products 2025, Toro Super Recycler 2025, Toro 20836 Recycler Petrol Mower Buy online at Lawnmowers Direct 2025, Toro Super Recycler 2025, Toro Super Recycler 21 2025, 5PK Air Filter for Toro Super Recycler Bagger Mower 20323 20835 2025, 5PK Air Filter for Toro Super Recycler Bagger Mower 20323 20835 2025, How To Rebuild Restore A Toro Super Recycler NIBI YouTube 2025, Toro 20836 48cm Super Recycler Lawn Mower 2012 SN 312000001 2025, Toro 21 2025, Toro 21 Personal Pace SMARTSTOW Super Recycler Mower 21565 2025, How To Rebuild Restore A Toro Super Recycler NIBI YouTube 2025, Toro 20836 48cm Super Recycler Lawn Mower 2013 SN 313000001 2025, 2013 LAWN GARDEN RANGE 2025, Amazon WILDFLOWER Tools 117 9389 Traction Cable for Toro 2025, Toro 20836 Recycler Petrol Mower Buy online at Lawnmowers Direct 2025, Toro 21 2025, 22 2025, Amazon HITY MOTOR New Part Compatible with Toro 108 8157 2025, 2020 Toro Super Recycler BLACK Edition First Look and Features 2025, Toro 20836 48cm Super Recycler Lawn Mower 2011 SN 311000001 2025, Toro 21 in. Super Recycler Personal Pace SmartStow 163 cc Briggs 2025, Toro 60V Max Super Recycler Mower 21568 Electric Mower TORO 2025, Toro 20836 48cm Super Recycler Lawn Mower 2013 SN 313000001 2025, Amazon RMASH New 108 8157 Toro Brake Cable for Toro Super 2025, BEFORE YOU BUY A 2023 TORO SUPER RECYCLER WATCH THIS YouTube 2025, Toro 20836 48cm Super Recycler Lawn Mower 2014 SN 314000001 2025, Amazon BERPSE 106 3987 Blade Driver Assembly Replaces 104 2025, Toro 20836 Toro 48cm Super Recycler Walk Behind Mower SN 2025, Toro 60V Max Super Recycler Mower 21568 Electric Mower TORO 2025, Toro Super Recycler Personal Pace 60V 21 2025, Toro Super Recycler Review Premium Consumer Lawn Mower YouTube 2025, Toro 20836 48cm Super Recycler Lawn Mower 2011 SN 311000001 2025, Toro Push Battery Lawn Mower 48cm 19in Super Recycler ADS 21848 2025, ARE YOU BETTER OFF BUYING AN OLDER TORO SUPER RECYCLER THAN A NEW ONE 2025.
Toro super 2025 recycler 20836